
• Used for observing the color and flow condition of the medium; corrosion-resistant and lightweight.
• Enhanced versions are also available, suitable for harsh environments.

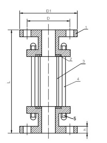
| No. | Parts | Materials |
|---|---|---|
| 1 | Inspection Glass Flange | FRPP, PPH, UPVC, CPVC, PVDF |
| 2 | Tube Sealing | EPDM, FPM, PTFE |
| 3 | Glass | Glass |
| 4 | Stud Bolt | Steel, Stainless Steel |
| 5 | Nut | Steel, Stainless Steel |

| DN | D1 (mm) | D (mm) DIN | D (mm) JIS | D (mm) ANSI | L (mm) | H (mm) | n (HG/DIN) | n (JIS) | n (ANSI) | Φ (mm) HG/DIN | Φ (mm) JIS | Φ (mm) ANSI | Working Pressure (MPa) |
|---|---|---|---|---|---|---|---|---|---|---|---|---|---|
| 25 | 115 | 85 | 90 | 79 | 235 | 16 | 4 | 4 | 4 | 14 | 15 | 16 | 0.6 |
| 32 | 135 | 100 | 100 | 89 | 235 | 16 | 4 | 4 | 4 | 18 | 19 | 16 | 0.6 |
| 40 | 145 | 110 | 105 | 98 | 235 | 16 | 4 | 4 | 4 | 18 | 19 | 16 | 0.6 |
| 50 | 160 | 125 | 120 | 121 | 235 | 16 | 4 | 4 | 4 | 18 | 19 | 19 | 0.6 |
| 65 | 180 | 145 | 140 | 140 | 235 | 18 | 4 | 4 | 4 | 18 | 19 | 19 | 0.6 |
| 80 | 195 | 160 | 150 | 152 | 235 | 18 | 8 | 8 | 4* | 18 | 19 | 19 | 0.6 |
| 100 | 215 | 180 | 175 | 190 | 235 | 20 | 8 | 8 | 8 | 18 | 19 | 19 | 0.6 |
| 125 | 245 | 210 | 210 | 216 | 315 | 20 | 8 | 8 | 8 | 18 | 19 | 22 | 0.3 |
| 150 | 280 | 240 | 240 | 241 | 370 | 20 | 8 | 8 | 8 | 22 | 23 | 22 | 0.3 |
| 200 | 340 | 295 | 290 | 298 | 385 | 25 | 8 | 12* | 8 | 22 | 23 | 22 | 0.3 |
| 250 | 405 | 350 | 355 | 362 | 420 | 28 | 12 | 12 | 12 | 22 | 25 | 26 | 0.3 |
Step 1: Order and Design
Based on the customer’s operating conditions (pressure, temperature, medium), determine the sight glass’s structural configuration, dimensional standards (e.g., DIN/ANSI), and material (PVC, PP, PVDF, etc.), and complete the drawing design and technical confirmation.

Step 2: Raw Material Preparation & Molding
Select high-quality plastic raw materials and perform drying treatment. Mold the flanges and main components via injection molding or machining to ensure the sight glass possesses excellent corrosion resistance and structural strength.

Step 3: Machining
Perform precision machining on the molded parts, including turning of sealing surfaces, drilling of holes, and tapping, to ensure the dimensional accuracy and sealing performance of the sight glass.

Step 4: Assembly
Assemble the transparent tube (e.g., transparent PVC or glass), flanges, gaskets, and fasteners to ensure the sight glass is securely connected, has good concentricity, and is free from leakage risks.

Step 5: Testing & Quality Assurance
The assembled sight glass undergoes pressure testing, leak testing, and visual inspection to ensure the product meets relevant industry standards and usage requirements.

Step 6: Finishing, Packaging and Shipment
The product is cleaned and labeled, packed in shock-resistant packaging to ensure safe transport, and shipped after final inspection.

These valves are widely used in:

Oil and Gas

Chemical Processing

Power Plants

Water Treatment

Metallurgy and Mining

Agriculture and Irrigation






Superior Quality

Our valves are produced from high-grade materials and subjected to strict quality inspections to guarantee dependable performance in challenging industrial environments.
Advanced Technology

With cutting-edge CNC machining systems and high-precision manufacturing equipment, we ensure valves are made with outstanding accuracy and uniformity.
Competitive Pricing

By streamlining production processes and sourcing materials in bulk, we provide premium-quality valves at competitive prices while maintaining excellent standards.
Expert Support

Our skilled technical team offers full support from product selection through after-sales service, helping ensure the best valve performance for your application.
Request a Quote